Khi bạn nhận được mã pin phân chia Hiệu quả về Chi phí, mã pin đó có thể đi kèm với chứng chỉ chất lượng. Về cơ bản, đây là một thủ tục giấy tờ cho biết chốt chia đã được kiểm tra và đáp ứng các tiêu chuẩn nhất định.
Chứng chỉ liệt kê thông tin chi tiết về chốt chia đôi - ai đã tạo ra nó, nó được làm từ gì, kích thước của nó và nó đến từ lô nào. Nó cho thấy rằng chốt chẻ đã được kiểm tra các yếu tố như độ bền, độ chính xác về kích thước và liệu nó có uốn cong đúng cách mà không bị gãy hay không. Họ cũng kiểm tra xem việc xử lý bề mặt như mạ kẽm có được thực hiện chính xác hay không.
Giấy chứng nhận được ký và đóng dấu bởi các thanh tra viên đã thực hiện các cuộc kiểm tra. Thủ tục giấy tờ này rất hữu ích cho các doanh nghiệp cần chứng minh chốt chia của họ đáp ứng các yêu cầu cụ thể, đặc biệt là trong các ngành như ô tô hoặc sản xuất nơi việc theo dõi chất lượng là quan trọng. Về cơ bản, bạn có thể đảm bảo rằng chốt chia đã được kiểm tra chính xác trước khi bạn nhận được.
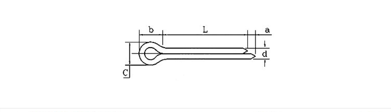
| d | 0.6 | 0.8 | 1 | 1.2 | 1.5 | 2 | 2.5 | 3.2 | 4 | 5 | 6.3 | 8 | 10 | 13 | 16 | 20 | |
| d | tối đa | 0.5 | 0.7 | 0.9 | 1 | 1.4 | 1.8 | 2.3 | 2.9 | 3.7 | 4.6 | 5.9 | 7.5 | 9.5 | 12.4 | 15.4 | 19.3 |
| phút | 0.4 | 0.6 | 0.8 | 0.9 | 1.3 | 1.7 | 2.1 | 2.7 | 3.5 | 4.4 | 5.7 | 7.3 | 9.3 | 12.1 | 15.1 | 19 | |
| a | tối đa | 1.6 | 1.6 | 1.6 | 2.5 | 2.5 | 2.5 | 2.5 | 3.2 | 4 | 4 | 4 | 4 | 6.3 | 6.3 | 6.3 | 6.3 |
| phút | 0.8 | 0.8 | 0.8 | 1.25 | 1.25 | 1.25 | 1.25 | 1.6 | 2 | 2 | 2 | 2 | 3.15 | 3.15 | 3.15 | 3.15 | |
| b≈ | 2 | 2.4 | 3 | 3 | 3.2 | 4 | 5 | 6.4 | 8 | 10 | 12.6 | 16 | 20 | 26 | 32 | 40 | |
| C | tối đa | 1 | 1.4 | 1.8 | 2 | 2.8 | 3.6 | 4.6 | 5.8 | 7.4 | 9.2 | 11.8 | 15 | 19 | 24.8 | 30.8 | 38.5 |
| phút | 0.9 | 1.2 | 1.6 | 1.7 | 2.4 | 3.2 | 4 | 5.1 | 6.5 | 8 | 10.3 | 13.1 | 16.6 | 21.7 | 27 | 33.8 | |
Chốt chia hiệu quả về chi phí chủ yếu được sử dụng để giữ cho các bộ phận không bị lỏng trong máy móc, ô tô và thiết bị. Nhiệm vụ của nó là ngăn bu lông, trục hoặc các chốt khác trượt ra ngoài do rung. Ví dụ, trên ô tô, bạn sẽ thường thấy một chốt chia đôi ở trục bánh xe hoặc hệ thống treo để giúp giữ mọi thứ an toàn.
Trong các máy móc của nhà máy, một chốt chia đôi có thể được sử dụng trong bản lề hoặc các khớp chuyển động để giữ mọi thứ thẳng hàng. Trên thuyền, nó có thể giữ cố định các phần cứng như đinh. Để sử dụng hàng ngày, bạn có thể sử dụng chốt chẻ để cố định lưỡi cắt cỏ hoặc bàn đạp xe đạp. Bạn chỉ cần đẩy chốt chẻ qua một lỗ và uốn cong hai ngạnh ra – đó là cách đơn giản để tạo kết nối được giữ chắc chắn nhưng vẫn có thể tháo ra khi cần.
Câu hỏi: Bạn có thể cung cấp chứng chỉ cho mã pin phân chia Hiệu quả về Chi phí của mình không?
Giấy chứng nhận được ký và đóng dấu bởi các thanh tra viên đã thực hiện các cuộc kiểm tra. Thủ tục giấy tờ này rất hữu ích cho các doanh nghiệp cần chứng minh chốt chia của họ đáp ứng các yêu cầu cụ thể, đặc biệt là trong các ngành như ô tô hoặc sản xuất nơi việc theo dõi chất lượng là quan trọng. Về cơ bản, bạn có thể đảm bảo rằng chốt chia đã được kiểm tra chính xác trước khi bạn nhận được.
